氣動調節閥系列
您現在的位置: 上海自動化儀表股份有限公司 > 產品導航 > 調節閥 > 氣動調節閥
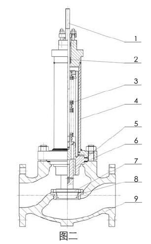
48-21000W波紋管密封氣動單座調節閥
產品說明: 一、48-21000W波紋管密封氣動單座調節閥 概述 48-21000W波紋管密封氣動單座調節閥是在消化、吸收國外先進技術的基礎上開發的產品。48-21000W系列產品由?F氣動執行機
質量穩定:實行全過程質量監控,細致入微,全方位檢測!
真品保證:正品保障,防偽標志
交貨快捷:先進生產流水線,充足的備貨,縮短了交貨期!
全國咨詢熱線:
021-56725115
產品說明
一、48-21000W波紋管密封氣動單座調節閥 概述
48-21000W波紋管密封氣動單座調節閥是在消化、吸收國外先進技術的基礎上開發的產品。48-21000W系列產品由?F氣動執行機構和21000W系列單座波紋管密封閥組成,整機抗壓差能力強。97/98一21000W系列產品則由氣動薄膜多彈簧執行機構和21000W系列單座波紋管密封閥組成,整機體積小、重量輕。二者的區別在于配用不同的執行機構,其閥部件相同。
21000W系列單座波紋管密封閥是在21000系列單座閥基礎上,吸收了國內外波紋管密封閥的先進技術,開發成功的新一代波紋管密封調節閥產品。它既保持了21000系列單座閥的穩定性好、泄漏量小、使用范圍廣等特點,又由于采用了波紋管密封結構并與填料密封組合形成雙重密封,因而能有效地防止工藝介質從閥門填料函中向外泄漏。該系列產品特別適用于對劇毒的、貴重的、易揮發和有放射性介質的控制,同時也適用于真空場合。
二、型號編制說明

三、主要技術參數
1.本產品企業標準代號:Q/YXBM81、Q/YXB82
2.主要技術性能指標
▲48-21000W系列氣動單座波紋管密封調節閥主要技術性能指標(見表1)
表1
|
項目名稱 |
技術指標(不帶閥門定位器) |
技術指標(帶閥門定位器) |
|
始點偏差 |
- |
±3% |
|
死區 |
- |
1% |
|
額定行程偏差 |
-5%~+15% |
-5%~+15% |
3、規格及連接形式(見表2)
表2
|
壓力等級 口徑(英寸) |
3/4 |
1 |
1.5 |
2 |
3 |
4 |
6 |
|
150/300 |
□○ |
□○ |
□○ |
□○ |
□■ |
□■ |
□■ |
4、溫度范圍及泄漏等級(見表3)
表3
|
口徑英寸 mm |
壓力等級 |
閥芯類型 |
溫度范圍(℃) |
泄漏等級 ANSI B16.104 |
|
|
標準型閥蓋 |
延長型閥蓋 |
||||
|
3/4~6 |
ANSI Class 150 ANSI Class 300
|
仿形輪廓 |
-17~200 |
-29~350 |
IV、Ⅴ* |
|
軟密封 |
-17~200 |
-29~232 |
Ⅵ |
||
注:*僅適用于48-21000W系列氣動單座波紋管密封調節閥
5、固有流量特性
氣動單座波紋管密封調節閥有兩種流量特性:直線和等百分比流量特性,特性曲線見圖一.
固有可調比R 50:1.

6.主要零件材料(見表4)
表4
|
序號 |
零件名稱 |
材料 |
|
1 |
閥桿 |
SUS304、SUS316、SUS630、NCF750 |
|
2 |
填料 |
P4519#M、P#316和P#6610組合使用 |
|
3 |
波紋管 |
SUS304、SUS316 |
|
4 |
閥蓋部件 |
A105、SUS304、SUS316 |
|
5 |
波紋管座 |
SUS304、SUS316 |
|
6 |
導套 |
9Cr18、Stellite No.6(不銹鋼閥體用) |
|
7 |
閥芯 |
SUS304、SUS316、SUS304或SUS316密封面堆焊、SUS304或SUS316嵌四氟乙烯 |
|
8 |
閥座 |
SUS304、SUS316、SUS304或SUS316密封面堆焊Stellite No.6 |
|
9 |
閥體 |
SCPH2、WCB、SCS |
注:也可用國內同類材料。


